列车驶出,色灯信号绿灯重新点亮时,才允许另一列车进入该区段。
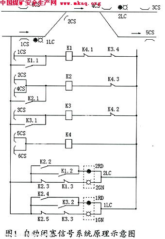
图1所示为架线式电机车在双向运行的单轨巷道区段运输的自动闭塞信号系统原理图,它在闭塞区段两端入口均设置信号箱。其主要元件有:4个电流继电器K1-K4;两个有红(RD)、绿(GN)灯组成的色灯信号箱1LC、2LC;六段信号导线1CS-6CS等。信号导线是在叉道上各点上空与架空线同一高度并列敷设的几段裸导线。电机车头的受电弓接触这些导线时。就使它们与架空线相连接,接通相应的信号电路,发出信号。
4.3自动闭塞信号系统的工作过程。
假设列车行驶路线和方向固定,并如图1中箭头所示。现以列车从左边叉道使入此区间为例,说明该自动闭塞信号系统的工作过程。

正常时,色灯信号箱1LC、2LC的绿(GN)色允许信号灯一直亮着。当电机车由左向右接近色灯信号箱1LC时,电机车头的受电弓与信号导线1CS接触,使电流继电器K1通电吸合。其常开接点K1.1闭合自保;K1.2闭合,使右边色灯信号箱2LC的红灯2RD亮;K1.3断开,绿灯2GN灭,阻止右方来车,避免撞车事故。
当电机车经过色灯信号箱1LC之后,其受电弓与信号导线2CS接触,电流继电器K2通电吸合。K2.1闭合自保;K2.4闭合,色灯信号箱1LC的红灯1RD亮;K2.5断开,1LC的绿灯熄灭,阻止其后方来车,防止追尾事故发生。
当列车全部通过闭锁区间,从右方驶出时,电机车头受电弓接触解除信号导线5CS,使解除电流继电器K4通电吸合。常闭接点K4.1、K4.3断开,使K1、K2断电释放,整个系统又重新恢复到正常状态。
当列车从右边叉道驶入该闭锁区间时,其动作原理与上述完全类似。
该自动闭塞系统不允许同时有2列车驶入同一区段。如果2列车相对行驶,并且同时接触信号导线1CS和3CS时,该系统将给予右边道叉来的重车以通行的优先权,因为继电器K1的线圈回路中串有继电器K3的常闭接点K3.4。
5、结束语
平巷运输信号是一个容易让人忽视的。却又是防止煤矿井下平巷运输电机车相撞和追尾事件发生的平巷运输系统中不可缺少十分重要的辅助系统,它就像斜井提升的打点信号一样,提示电机车司机前方轨道的空闲情况,实现平巷运输电机车“各行其道”,从而有效避免和减少平巷运输“交通事故”。