在民政局官网上看到的一组数据,还是挺让人吃惊的,各位小伙伴们坐稳再看。。。

今年上半年全国新婚了558万对夫妇,同时有185万对离婚!离婚率最高的竟是北、上、深、广。
▲2012-2017全国上半年婚姻人口数据趋势(对)中国离婚率一路走高,北上深广离婚率最高
从2002年开始,中国的离婚率就一路走高。2002年,中国离婚率仅有0.90‰,2003年达到1.05‰,到2010年突破2‰。当前数据显示,2015年离婚率为2.8‰,这也是2002年的3倍多。

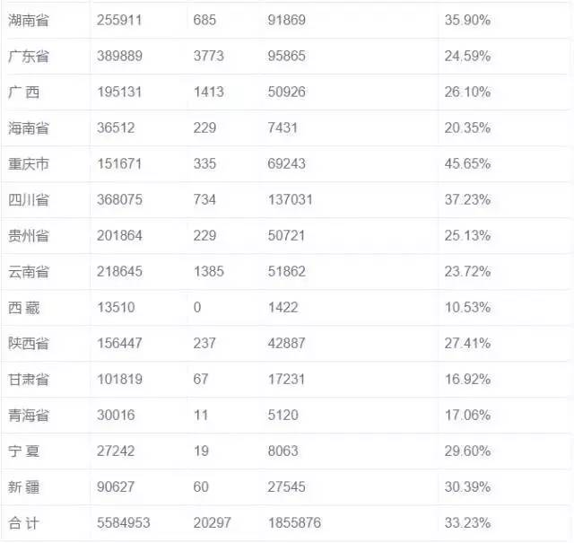
最新数据显示,2017上半年全国各级民政部门和婚姻登记机构共依法办理结婚登记558万对,比去年下降7.5%;依法办理离婚登记185.6万对,比去年同期上升10.3%。其中离婚结婚比最高前三甲分别为天津市、黑龙江、吉林省,离婚结婚比分别为60.50%、58.92%、56.34%,北京市以50.60%屈居第四。离婚结婚比最低的省份分别为西藏、甘肃和青海,离婚结婚比分别为10.53%、16.92%、17.06%。

国家民政部统计显示:中国离婚率十强城市分别是北京、上海、深圳、广州、厦门、台北、香港、大连、杭州和哈尔滨。其中,北上深广位居前四。
▲中国离婚率十强城市离婚六大主要原因,第一是。。。。。。
据调查,离婚有六大主要原因,分别是:
NO.6购房需要
NO.5不良嗜好
NO.4婆媳不睦
NO.3性格不合
NO.2家庭暴力
NO.1一方出轨
万万没想到!全职妈妈和IT男出轨率最高
调查显示,在中国,出轨的女性中,67%是全职妈妈为了寻求激情,其次是教师13.8%,医生8.6%,文秘7.2%,设计师6.1%。
而IT男,则是男性出轨率最高的,出轨率占比10.6%,金融业8.2%,教育业6.5%,医生4.6%,律师3.8%。

全国2017上半年婚姻人口总数据:



为什么要离婚的夫妻越来越多?
▲图片来源:搜狐数字之道面对2017年上半年数据,网友怎么解读?
@-