1概述
在矿井中,掘进工作面所需的风,是由局部通风机供给。局部通风机能否正常运转,直接影响矿井安全。 在通常情况下,专用局部通风机投入使用,只有其出现故障时,备用局部通风机才投入运转。为防止突发性的机电故障,专用局部通风机突然掉电,而备用局部通风机又未能及时开启,从而影响掘进工作面供风。为此,设计了局部通风机开关自动切换电路,此电路在应用上具有很好的稳定性及实用性,在淮南矿业集团谢桥矿得到广泛应用,收到了明显的效果。
2 设计原理
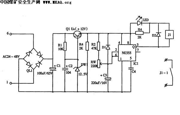
随着掘进工作面长度的增长,局部通风机功率也随之增大,FDⅡ№8型局部通风机功率达到55kW×2.此类对旋局部通风机配备Ф1000mm风筒,为防止风筒被同时起动的双电机吹爆,双电机之间必须保证间隔10~20s启动,为满足此要求,我们设计延时触发电路,如图1所示。 
图1利用NE555构成的施密特触发电路
将利用NE555施密特 触发器,组成延时电路做成组件,安置于对旋局部通风机第一台电机开关中,此开关吸合10~20s后(调切电位器RW达到所需的延时时间),继电器J1吸合,J1-1触点